
内部控制各业务流程
预算业务控制
工作步骤示意图

工作流程图
(一)预算编制及批复

(二)预算执行

(三)预算绩效管理

风险点及主要防控措施一览表
(一)预算编制及批复
流程 | 关键环节 | 风险点 | 主要防控措施 | 责任主体 |
预算编制及 批复 | 提出新增需求、评审新增项目 | 提出的新增需求不真实,虚报人员、资产、业务工作内容,新增项目未经过科学论证和评审。 | 1.建立财政补助人员和资产基础信息数据库,加强需求审核; 2.建立和完善项目评审制,对于建设工程、大型修缮、信息化项目等专业性较强的重大事项,需先进行项目评审。 | 提出新增需求的业务部门 |
按规定的预算编审程序进行预算编制 | 预算编制不科学,预算编制粗糙,不符合工作实际 | 1.召开预算编制会议,全面把握预算编制政策,细化预算编制; 2.建立预算编制、预算执行、资产管理、人事管理、预算绩效管理的沟通协调机制; 3.加强预算合理性和合规性审核。 | 预算编制部门 | |
预算批复 | 预算不进行内部批复,导致预算执行力度不足,预算约束力弱化。 | 单位将批复的预算在单位内部进行指标分解和审批下达。 | 预算管理部门 |
(三)决算和预算绩效管理
流程 | 关键环节 | 风险点 | 主要防控措施 | 责任主体 |
决算和预算绩效管理 | 决算编制 | 决算与预算存在脱节、口径不一,难以及时反映预算执行情况,导致预算管理的效率低下 | 1.按照财政部门要求,按照规定的时间、格式、要求进行决算编制; 2.决算报表内容完整,数据准确,审核人员进行签字确认; 3.加强决算数据分析,收集数据资料,分析预决算差异原因,撰写预算结果报告; 4.将分析报告反馈各业务部门,查找问题,制定整改措施。 | 财会部门 |
预算绩 效管理 | 预算绩效管理机制不完善,可能导致绩效目标脱离实际,绩效监控不到位,绩效评价不科学,评价结果流于形式 | 1.建立绩效管理制度; 2.预算绩效目标的设定要经过调查研究和科学论证,目标要指向明确,细化量化,符合客观实际; 3.评价标准和评价方法科学合理、客观公正,要形成评价报告; 4.评价结果要及时反馈并进行一定范围的公开,作为改进预算管理和安排以后年度预算的重要依据。 | 预算绩效管理组织单位和预算管理部门 |
收支业务控制
工作步骤示意图
(一)收入业务

(二)支出业务

风险点及主要防控措施一览表
(一)收入业务
流程 | 关键环节 | 风险点 | 主要防控措施 | 责任主体 |
收入管理 | 截留、坐支、挪用非税收入,非税收入不开具缴款书,隐瞒应缴收入 | 1.建立非税收入定期稽查制度,落实收缴责任,严格责任追究; 2.建立收入征管信息系统,进行收入分析,财会部门定期与收入执收部门对账; 3.严格收费票据管理,开票和收款分离,收入和票据定期核对; 4.定期进行财务检查和内部审计监督,加强往来账的清理和检查工作。 | 收入执收部门,财会部门 | |
截留、坐支其他收入 |
(二)支出业务
流程 | 关键环节 | 风险点 | 主要防控措施 | 责任主体 |
支出管理
支出管理 | 支出事项事前申请审核和审批 | 支出范围和开支标准不符合相关规定,导致预算执行不力,甚至发生支出业务违法违规的风险 | 1.申请支出事项必须有预算指标,无指标或超指标的支出不能进行申请; 2.财会部门进行预算指标审核; 3.申请支出部门按照单位内部授权审批权限进行逐级报批; 4.审核审批后,按规定开展支出业务。 | 申请支出事项部门,财会部门 |
事后支出 审批 | 支出事项缺乏事后监控,可能导致乱列支出,超指标列支出、虚假票据套取资金等风险 | 1.财会部门进行单据审核,签署审核意见; 2.根据支出事项数额及支出事项性质的审批权限由不同的审批人进行审批。 | 申请支出事项部门,财会部门 | |
支付控制 | 资金支付不符合国库集中支付、政府采购、公务卡结算等政策规定,导致支出违规风险 | 1.出纳人员进行复核; 2.按照规定的资金支付方式进行资金支付。 | 财会部门 | |
核算和归档控制 | 会计资料不全,导致责任确认不清 | 1.财会部门根据支出凭证及时准确登记账簿; 2.会计档案妥善保管、严防毁损、散失、泄密或不当使用。 | 财会部门 |
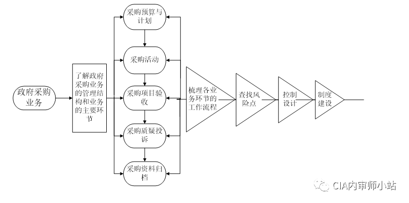
政府采购业务控制
工作步骤示意图

工作流程图

风险点及主要防控措施一览表
(一)采购预算编制与计划管理
流程 | 关键环节 | 风险点 | 主要防控措施 | 责任主体 |
采购预算计划管 理 | 政府采购预算编制与审核 | 资产管理与预算编制部门之间缺乏够沟通协调,政府采购活动与业务活动相脱节,出现资金浪费或资产闲置等问题 | 建立预算编制、政府采购和资产管理等部门或岗位之间的沟通协调机制,联合进行政府采购预算编制。 | 采购预算编制部门、财会部门、业务部门 |
采购计划编制 | 超预算指标和内容编制采购计划,影响政府采购预算的执行效果 | 业务部门严格按照政府采购预算范围、数量、金额和要求等编制政府采购计划。 | 业务部门 | |
采购计划审核 | 政府采购需求审核审批不严格,未按政府采购预算进行采购,影响政府采购预算的严肃性和政府采购效果 | 1.政府采购部门审核采购计划的合理性:采购计划是否列入预算、是否与业务部门的工作计划和资产存量相适应;是否与资产配置标准相符; 2.专业性设备附有相关技术部门的审核意见; 3.财会部门对采购计划是否在预算指标额度内进行审核。 | 政府采购部门、财会部门 | |
采购计划审批 | 1.合理设置政府采购计划的审批权限、程序和责任; 2.经审核的政府采购计划按照相应程序进行审批; 3.审批后政府采购计划下达给各业务部门,作为业务部门办理政府采购业务的依据。 | 政府采购部门 |
(二)采购活动管理
流程 | 关键环节 | 风险点 | 主要防控措施 | 责任主体 |
采购活动管理 | 业务部门采购的申请与审核 | 政府采购活动 开展不规范,未按规定选择采购方式、发布采购信息,甚至化整为零或其他方式规避公共招标 | 1.业务部门应当以批复的政府采购预算和计划提出政府采购申请; 2.业务部门负责人进行复核 | 业务部门 |
政府采购部门审核 | 政府采购部门对业务部门的政府采购申请进行审核; 1.审核重点是否符合政府采购计划,采购成本是否在预算指标额度内,采购组织形式是否合规等; 2.对采购进口产品、变更政府采购方式等事项加强审核和审批。 | 采购管理部门 | ||
政府采购 信息的发布 | 1.在政府指定的政府采购信息发布媒体上进行发布; 2.对招标公告;邀请招标资格预审公告;中标公告等信息依法公开。 | 采购管理部门、业务部门、外部采购中心 | ||
采购项目 验收 | 1.根据政府采购组织形式的不同,确定验收方式; 2.组建验收小组; 3.出具验收证明; 4.财会部门根据验收证明办理款项支付。 | 采购管理部门、财会部门 | ||
质疑投诉 处理 | 质疑投诉处理不及时,不规范,既不利于及时发现问题,发挥社会监督作用,也影响政府公信力 | 1.专人负责质疑投诉处理工作; 2.规定质疑答复工作的职责权限和工作流程; 3.答复中形成的各种文件由政府采购部门进行归档和保管; 4.质疑投诉问题要进行定期梳理报告,发现问题,改进工作。 | 采购管理部门 | |
政府采购业务记录控制 | 政府采购档案管理不善、信息缺失,影响政府采购信息和财务信息的真实完整 | 1.建立政府采购业务工作档案; 2.定期分类统计政府采购信息; 3.内部通报政府预算执行情况、采购业务开展情况。 | 采购管理部门 | |
涉密政府采购项目管理 | 涉密事项被泄密 | 与相关供应商或采购中介机构签订保密协议或者在合同中设立保密条款 | 采购管理部门 |
资产业务控制
工作步骤示意图
(一)货币资金业务

(二)实物资产和无形资产业务

风险点及主要防控措施一览表
(一)货币资金
流程 | 关键环节 | 风险点 | 主要防控措施 | 责任主体 |
现金管 理
现金管 理 | 建立健全货币资金岗位责任制 | 岗位不健全,不相容岗位未实现有效分离,容易出现财会人员舞弊的可能 | 1.不相容岗位相互分离,未经授权的部门和人员不得办理货币资金业务或接触货币; 2.出纳人员不得担任稽核、会计档案保管和收入、支出、费用、债权、债务账目的登记工作。出纳人员不得由临时人员担任; 3.财务专用章由专人保管,个人名章由本人或其授权人员保管。负责保管印章人员配备单独的保险柜等保管设备; 4.按照规定由有关负责人签字或盖章的,履行签字或盖章手续。 | 财会部门 |
银行账户 管理 | 银行账户管理不善,多头开户,不及时销户,为违规转移隐匿单位资金提供便利 | 1.银行账户由财务部门按照国家规定统一集中管理,严格按照规定的审批权限和程序开立、变更和撤销银行账户。 2.已开立未使用或长期不用的账户及时进行销户,对已销户的银行账户,应在办理销户后一个月,再由经办人员以外的会计人员向银行核实销户情况,确保销户已得到执行; 3.银行预留印鉴由不同人员分开保管,严禁一人保管所有预留印鉴; 4.防范网上支付的风险。 | 财会部门 | |
货币资金 核查控制 | 资金清查制度不完善,可能导致资金丢失和会计人员舞弊风险 | 1.建立现金清查制度,指定不办理货币资金业务的会计人员定期不定期抽查盘点库存现金; 2.加强银行对账管理,指定不办理货币资金业务的会计人员核对银行存款余额,抽查银行对账单、银行日记账及银行存款余额调节表,核对是否账账相符,账实相符; 3.出具资金核查报告,对发现的问题及时进行分析和整改,堵塞管理漏洞。 | 财会部门 | |
债券管理 | 债权长期挂账,形成呆账、坏账损失 | 1.建立有效的债权清理机制; 2.定期核查债权信息,及时追索和清; 3.对临近诉讼时效的债权信息,及时办理诉讼时效保全手续。 4.已经发生或可能发生的呆账、坏账应及时通报并提出处置方案; 5.已核销的坏账,单位仍然保留追索权,应单独设置备查账。 | 财会部门 |
(二)实物资产和无形资产
流程 | 关键环节 | 风险点 | 主要防控措施 | 责任主体 |
资产管 理 | 资产配置 | 超标准配置资产,造成资产损失浪费,资产配置不合理,影响工作运行。 | 1.资产预算编制参见预算业务预算编制控制; 2.资产购置参见政府采购业务活动控制; 3.资金支付参见收支业务控制。 | 预算编制部门、资产需求部门、政府采购部门、财会部门 |
资产使用 | 资产保管不善、维护不当造成资产毁损浪费,缺乏资产有效记录和清查盘点制度,产生帐外资产、资产流失、资产信息失真、账实不符等问题 | 1.资产管理部门建立并使用资产信息管理系统对资产进行管理; 2.规定资产使用人在资产管理中的责任,对贵重资产、危险资产、有保密特殊要求的资产指定专人保管; 3.建立资产定期清查盘点制度,资产管理部门、财会部门和资产使用部门定期对资产进行账实核对,出具资产清查报告、报经资产管理部门审批; 4.及时做好资产统计、报告、分析工作,并进行资产信息的内部公开; 5.做好固定资产日常保养、维修和维护工作,维修、维护应履行申报审批手续,经费支出应严格控制; 6.应当按照国有资产管理相关规定,明确固定资产调剂、租借、对外投资以及处置的程序、审批权限和责任。 | 资产使用部门及人员、资产管理部门 | |
资产收益管理 | 资产收益未及时收取,导致,单位利益受到损失 | 1.资产收益的收取参见收入业务控制; 2.资产对外签订合同参照合同控制; 3.收益管理参见对外投资业务控制。 | 资产归口管理部门,财会部门 | |
资产处置 | 资产处置没有严格执行审核审批程序,未按照国家有关规定执行,有关人员徇私舞弊,可能导致资产流失、单位利益受损 | 1.重大资产处置,建立集体议事决策机制; 2.对资产的调剂、出租、出借、对外投资、处置等制定管理制度,明确处置程序和审批权限; 3.重大资产处置需要按规定进行资产评估或技术审核; 4.资产处置收益按照国家规定上缴或管理; 5.资产管理部门对处置的资产及时进行记录并提交财会部门进行账务处理。 | 资产管理部门,相关审批权限负责人,财会部门 |
合同业务控制
工作步骤示意图

工作流程图

风险点及主要防控措施一览表
(一)合同订立阶段
流程 | 关键环节 | 风险点 | 主要防控措施 | 责任主体 |
合同订立
合同订立 | 合同调查 | 对合同对方未调查或未履行恰当的调查程序,致使合同履行存在风险,单位利益受损 | 1.建立合同调查报告制度,合同签订前,必须履行调查工作程序,出具调查报告; 2.建立牵制和复核机制,慎重选择调查成员。 | 合同调查组织部门 |
合同谈判 | 与合同对方合谋在重大问题做出不当让步或泄露本单位合同谋略导致单位利益受损 | 1.实行合同谈判联席制度,法律、技术、财会人员联合进行谈判; 2.重大经济合同应聘请外部专家参与合同谈判; 3.建立责任追究制度,谈判的重要事项和各方意见,应当进行记录并妥善保存,作为追究责任的重要凭据。 | 合同谈判负责部门 | |
合同文本 拟定 | 在合同拟定中故意隐藏重大疏漏和欺骗,导致单位利益受损 | 1.采用标准合同文本,订立书面合同; 2.重大经济合同应聘请法律顾问和第三方技术专家审查合同条款。 | 合同文本拟定负责部门 | |
合同审核 | 对合同条款、格式审核不严格,可能使单位面临诉讼的风险或造成经济利益损失 | 1.建立会审制度,归口管理部门、业务部门、财会部门联合审查; 2.审查人员对做出的审查结果负责,归口部门对合同审查结果负全面责任。 | 财会部门、业务部门、合同业务归口管理部门 | |
合同签订 | 授意或合谋串通签订虚假合同,谋取私利或套取、转移资金 | 1.严格各类合同的签署权限; 2.严格合同专用章保管制度; 3.采取恰当措施,防止已签署的合同被篡改。 | 合同签订经办部门 |
(二)合同履行阶段
流程 | 关键环节 | 风险点 | 主要防控措施 | 责任主体 |
合同履 行 | 合同履行 情况监控 | 发现合同履行中的风险不采取措施,合同纠纷处理不当致使国家利益受损 | 1.明确相关责任人在合同履行过程中的责任; 2.建立合同履行定期调查制度,检查分析合同履行情况及效果,敦促对方积极履行合同; 3.制定应急预案,对无法继续履行的合同,及时采取措施,降低损失。 | 合同业务履行部门,合同归口管理部门 |
合同履行 监督审查 | 不按照规定的程序办理合同的变更、解除等程序,单位利益受损 | 建立合同履行监督审查制度: 1.合同补充、变更及解除需按规定进行报告和审查。 2.以书面形式变更和解除合同; 3.对造成的损失,及时提出索赔。 | 合同业务履行部门,合同业务归口管理部门 | |
合同价款 支付 | 未按照合同规定的期限、金额和方式付款,可能导致单位经济利益遭受损失或面临诉讼的风险 | 1.建立合同管理信息系统,跟踪合同履行情况,在临近结算期限的合理时间提示财会部门进行资金结算提示; 2.合同承办人员及时收集凭证资料,经审批后在规定时间内提交财会部门办理结算; 3.财会部门对合同条款和经审批的结算申请资料进行审核; 4.未按合同条款履约或应签订书面合同而未签订的,财会部门在付款之前向单位负责人报告; 5.财会部门应当定期与合同归口管理部门核对,根据合同履行情况办理价款结算和进行账务处理,确保按合同约定及时结算相关价款。 | 合同归口管理部门,财会部门 | |
合同登记 归档 | 合同登记归档环节的主要风险包括: (1)合同及相关资料的登记、流转和保管不善,导致合同及相关资料丢失,影响到合同的正常履行和纠纷的有效处理。 (2) 未建立合同信息安全保密机制,致使合同订立与履行过程中涉及的国家秘密、工作秘密或商业秘密泄露,导致单位或国家利益遭受损失。 | 1.合同归口管理部门 定期对合同进行统计、分类,登记合同的订立、履行、结算、补充或变更、解除等情况; 2.建立合同文本统一分类和连续编号制度; 3.合同终结应及时办理销号和归档手续; 4.明确合同流转、借阅及归还的职责权限和审批程序等有关要求; 5.签订合同保密承诺,未经批准,不得以任何形式泄露合同订立与履行过程中涉及的国家秘密、工作秘密或商业秘密。
| 合同业务归口管理部门 | |
合同纠纷 处理 | 在合同订立、履行过程中,出现合同纠纷问题,如果处理不当,可能损害单位利益、信誉和形象。 | 1.明确合同纠纷的处理办法和处理责任,纠纷处理过程中,未经授权批准,相关经办人员不得向对方做出实质性答复或承诺; 2.在履行合同过程中发生纠纷的,单位应当在规定时效内与对方协商谈判; 3.合同纠纷协商一致的,双方应当签订书面协议确认; 4.合同纠纷经协商无法解决的,经办人员应向单位有关负责人报告,并根据合同约定选择仲裁或诉讼方式解决。 | 单位负责人,合同业务归口管理部门 |
内控管理师(ICM)”着力解决企事业单位内部控制体系建设专业知识不足,内控管理专业人才匮乏的共性问题。
